泵的知识
管道离心泵工作原理是怎么样的?
发布时间:2021/10/5 19:45:10 来源:开云网页版·官方站-开云(中国) 阅读:37
这里所说的管道离心泵指的是立式离心泵和卧式离心泵,两种离心泵工作原理基本相同,只是这两种管道离泵结构不一样一个是立式一个是卧式。下面开云网页版·官方站-开云(中国)详细解说管道离心泵工作原理是怎么样的。
管道离心泵工作原理
管道离心泵工作原理图
离心泵启动之后,泵轴会带动叶轮一起作高速旋转运动,迫使预先充灌在叶片间液体旋转,在惯性离心力的作用下,液体自叶轮中心向外周作径向运动。液体介质在流经叶轮的运动过程中会获得能量,导致静压能增高,同时增大流速。当液体离开叶轮进入泵壳后,由于壳内流道逐渐扩大而减速,部分动能转化为静压能,最后沿切向流入排出管路。当液体自叶轮中心甩向外周的同时,在叶轮中心将会形成一个低压区,在贮槽液面与叶轮中心总势能差的作用下,致使液体被吸进叶轮中心。依靠叶轮的不断运转,液体便连续地被吸入和排出。液体在离心泵中获得的机械能量最终表现为静压能的提高。
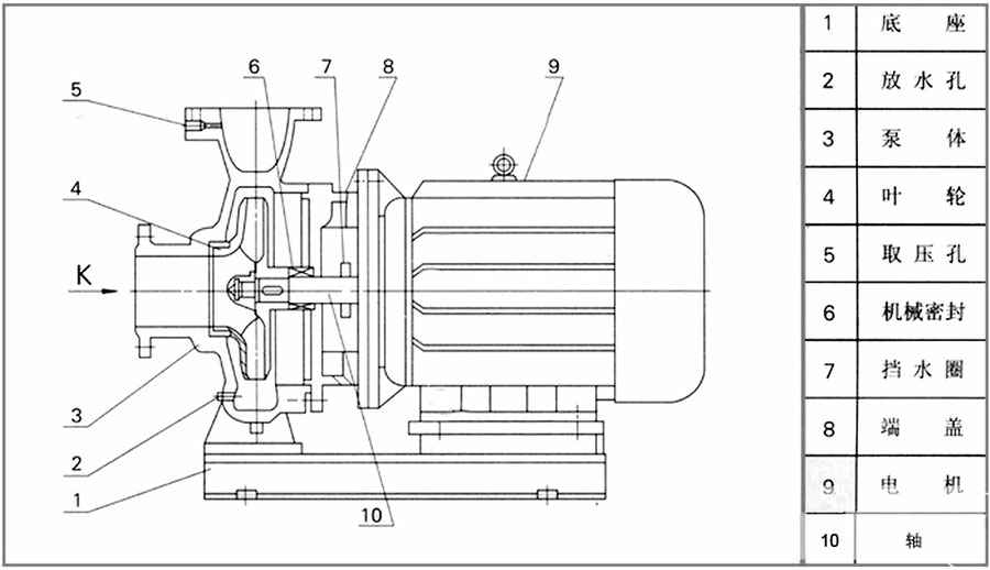
立式管道离心泵结构图
ISG立式管道离心泵结构图
卧式管道离心泵结构图
ISW卧式管道离心泵结构图
以上就是管道离心泵工作原理详细说明,简单说是离心泵叶轮高速旋转,产生离心力,将水从叶轮中飞过去,泵内的水抛出去。
本文标题:管道离心泵工作原理是怎么样的?
本文地址:http://www.cndjb.cn/news/ns-217.html
转载注明:欢迎转载!转载请注明本文地址。
免责声明:本站原创文章,由开云网页版·官方站-开云(中国)整理发表,部分文章信息来源于网络以及网友投稿,不代表本站观点,如您对文章有任何意见欢迎在下方评论处与我们互动沟通。如本站文章和转稿涉及版权等问题,请作者在及时联系本站,我们会尽快处理。
本文地址:http://www.cndjb.cn/news/ns-217.html
转载注明:欢迎转载!转载请注明本文地址。
免责声明:本站原创文章,由开云网页版·官方站-开云(中国)整理发表,部分文章信息来源于网络以及网友投稿,不代表本站观点,如您对文章有任何意见欢迎在下方评论处与我们互动沟通。如本站文章和转稿涉及版权等问题,请作者在及时联系本站,我们会尽快处理。
推荐知识

最新知识
- G型单螺杆泵工作原理及结构图
- 立式多级离心泵维修注意事项
- 立式多级离心泵及变频控制柜技术要求
- 消防水泵控制柜技术要求
- 立式多级离心泵常见故障分析及其排除方法
- 立式多级离心泵常见安装误区
- GDL型立式多级管道离心泵产品特点及型号参数
- 无负压给水设备哪家好
- XBD-(I)型立式多级消防泵产品概述及性能参数
- 无负压给水设备工作原理
- SXBWP无负压给水设备技术参数表及报价表
- 立式多级离心泵维修注意事项
- 无负压给水设备的问题点
- 箱式无负压给水设备特点是什么?
- 哪家无负压变频给水设备质量好?
- 无负压给水设备样本
- 立式多级离心泵的执行标准
- 立式多级消防泵单机试车方案
- XBD-GDL立式多级泵结构图
- 无负压供水设备工作条件哪些?
- 立式多级离心泵常见安装误区
- 详细说明立式多级消防泵的基本操作
- 立式多级给水泵及变频控制柜技术要求
- 消防水泵控制柜技术要求
- 立式多级离心泵常见故障分析及其排除方法



